精英家教网 > 初中生物 > 题目详情

槟榔属于下列哪类植物(   )
A、苔藓        B、蕨类      C、种子植物        D、藻类

练习册系列答案
相关习题

科目:初中生物 来源: 题型:


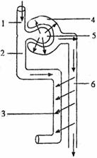
下图是尿液形成示意图,请据图回答:

(1)图中4、5、6合称为             

(2)在尿液的形成过程中,当血液流经5肾小球时,会发生         作用;当原尿流经6肾小管时,会发生        作用。

(3)如果血液中的葡萄糖浓度           (填“高”或“低”)

时,就会有一部分从尿液中排出,形成糖尿病。糖尿病的原因一般是胰岛分泌的            不足造成的,因而对该糖尿病患者应该注射该激素进行治疗。

查看答案和解析>>

科目:初中生物 来源: 题型:


(2013四川自贡)用你所学的生物学知识来判断,下列说法正确的是(  )

 A、绿色植物的光合作用只能在叶片中进行

B、肺泡与血液的气体交换后,血液中的二氧化碳全部进入肺泡

C、生态系统中的物质和能量是沿着食物链和食物网流动的

D、自然界中的细菌都是单细胞生物,真菌都是多细胞的生物

查看答案和解析>>

科目:初中生物 来源: 题型:


有“虫眼”的蔬菜、水果农药含量少.  

查看答案和解析>>

科目:初中生物 来源: 题型:


非处方药的标志是“OTC”,这类药物可以随意购买,任意服用.  

查看答案和解析>>

科目:初中生物 来源: 题型:


现代的煤大多是由古代的什么植物变成的(   )
A、苔藓   B、蕨类 C、种子植物   D、藻类

查看答案和解析>>

科目:初中生物 来源: 题型:


我们平时吃的豆芽是由绿豆种子的什么发育而成的(    )
A、胚芽       B、胚轴      C、子叶          D、胚根

查看答案和解析>>

科目:初中生物 来源: 题型:


陈浮同学学习了开花结果后,想观察一下玉米怎样结出果实、种子的。于是种了一些玉米,让他感到意外的是,用其他植物的花粉进行授粉的玉米,没有结出果实、种子。于是他产生了疑问:植物体要结出果实和种子,是不是一定要授同种植物的花粉呢?
⑴请问:假如他要用实验证明自己的疑问,应提出的假设是 _____________
⑵实验过程中,他重新种植了一些玉米(不考虑季节的影响),并将这些玉米平均分成差不多的甲、乙两组。快开花时,将所有雄花去掉,并分别用半透明纸袋将玉米雌花花穗包起来,其意义是 _____________    
⑶分别采集玉米和其他植物的花粉。将玉米花粉撒到包好的甲组玉米雌花穗上。其他植物的花粉撒到包好的乙组玉米雌花穗上。根据假设可以预测,能够形成果实的一组是__________。
⑷要设计另一组的意义是________ 。这种实验不能只种两株玉米,也不能够只进行一次实验,还不能够局限一种植物进行实验,请说出其中道理:________ 。

查看答案和解析>>

科目:初中生物 来源: 题型:


某同学用嘴往气球里吹气,吹一段时间后感到头晕,其原因是(    ) 

A.呼吸肌运动过于强烈,使呼吸中枢疲劳

B.呼吸肌运动过于强烈,使呼吸中枢兴奋

C.吹气过长,吸气短促,呼出的二氧化碳少,使体内二氧化碳增加,抑制呼吸中枢

D.吹气过长,吸气短促,吸入的新鲜空气少,使脑供氧不足

查看答案和解析>>

同步练习册答案