精英家教网 > 初中物理 > 题目详情
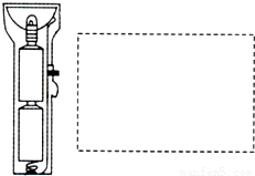
野营时,小红携带的手电筒不发光了,请你帮助找出原因.
(1)请根据图手电筒的结构示意图,将电路图补画完整.
(2)写出手电筒不发光的三种可能原因.
①______;
②______;
③______.
【答案】分析:手电筒是基本电路,所以,电路图中缺少电源和灯泡;灯泡不发光的原因可能是断路,如:灯丝断了.开关接触不良,也可能是电池没电了.
解答:解:如图所示(1)
(2)手电筒不发光,可能有两种可能,断路和电源没电.
故答案为:(1)灯丝断了,(2)电池没电了,(3)开关接触不良.
点评:会根据电路有持续电流的条件分析电路的故障,会根据实物图画出相应的电路图.
练习册系列答案
相关习题

科目:初中物理 来源: 题型:

(1)如图所示,杠杆OA处于平衡状态,在图中分别画出力F1和F2对支点0的力臂L1和L2

(2)在下图中画出最省力的绳子的绕法.

(3)请根据手电筒的结构示意图,将左边的电路图补画完整;野营时,小红携带的手电筒不发光了,其不发光的原因可能是:
灯丝断了
灯丝断了

电池没电了
电池没电了

查看答案和解析>>

科目:初中物理 来源: 题型:

(2005?福州)野营时,小红携带的手电筒不发光了,请你帮助找出原因.
(1)请根据图手电筒的结构示意图,将电路图补画完整.
(2)写出手电筒不发光的三种可能原因.
灯丝断了
灯丝断了

电池没电了
电池没电了

开关接触不良
开关接触不良

查看答案和解析>>

科目:初中物理 来源: 题型:

27、图为手电筒的结构示意图,请将电路图补画完整.野营时,小红携带的手电筒不发光了.请你帮她找出电筒不发光的二种可能的原因.
(1)
电池没电

(2)
小灯泡烧坏了

查看答案和解析>>

科目:初中物理 来源: 题型:

野营时,小红携带的手电筒不发光了,请你帮助找出手电筒不发光的三种可能原因.
电池没电
电池没电

小灯泡烧掉了
小灯泡烧掉了

开关接触不良
开关接触不良

查看答案和解析>>

科目:初中物理 来源: 题型:

(6分)野营时,小红携带的手电筒(如图所示)不发光了,请你帮助找出原因。
写出手电筒不发光的三种可能原因。

(1)_________________________________________;
(2)_________________________________________;
(3)_________________________________________。

查看答案和解析>>

同步练习册答案