精英家教网 > 高中数学 > 题目详情

函数 ,若实数a满足=1,则实数a的所有取值的和为( )

A.1 B. C. D.

练习册系列答案
相关习题

科目:高中数学 来源:2015-2016学年四川省高一上学期第一学月考数学试卷(解析版) 题型:填空题

给出下列两个集合间的对应:

(1)中的数的平方

(2)中的数的开方

(3)中的数的倒数

(4)中的数取绝对值

(5)A={1,2,3,4},B={2,4,6,8},f:n=2m;

其中是A到B的函数有__ ___个.

查看答案和解析>>

科目:高中数学 来源:2015-2016学年福建厦门双十中学高二上期中文科数学试卷(解析版) 题型:解答题

(本小题满分12分)

设函数

(1)若对于恒成立,求实数的取值范围.

(2)若对于恒成立,求实数的取值范围.

查看答案和解析>>

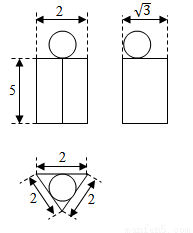
科目:高中数学 来源:2016届湖南省常德市高三上第五次月考文科数学试卷(解析版) 题型:选择题

若某几何体的三视图(单位:cm)如图所示,则该几何体的体积等于( )

A. B. C. D.

查看答案和解析>>

科目:高中数学 来源:2016届湖南省常德市高三上第五次月考理科数学试卷(解析版) 题型:选择题

将函数的图象向右平移个单位长度后,所得到的图象与原图象关于x轴对称,则的最小值为( )

(A) (B)3 (C)6 (D)9

查看答案和解析>>

科目:高中数学 来源:2015-2016学年湖南师大附中高二上学期第三次检测数学卷(解析版) 题型:填空题

,则按从大到小的顺序依次排列为

查看答案和解析>>

科目:高中数学 来源:2016届湖南省长沙市高三上学期月考五文科数学试卷(解析版) 题型:选择题

如图为一个几何体的三视图,尺寸如图所示,则该几何体的体积为()

A. B.

C. D.

查看答案和解析>>

科目:高中数学 来源:2015-2016学年四川省雅安市高二11月月考文科数学试卷(解析版) 题型:选择题

已知圆及直线,直线被圆截得的弦长为,则 ( )

A. B. C. D.

查看答案和解析>>

科目:高中数学 来源:2015-2016学年吉林省高一上学期期末数学试卷(解析版) 题型:选择题

已知定义在R上的函数满足,当时,,则下列不

等式成立的是( )

(A) (B)

(C) (D)

查看答案和解析>>

同步练习册答案