精英家教网 > 初中物理 > 题目详情
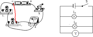
13.请你仔细观察如图所示实物电路

(1)在图甲中只加一根导线,使实物电路成为并联电路.并且画出电路图.
(2)在图乙中只改动一根导线的一端,使实物电路成为串联电路.并且画出电路图.要求:在被改动的导线上画“×”,然后画出改动的导线.

分析 电路的基本连接方式有两种.一种是串联:在串联电路中电流只有一条路径,各用电器之间顺次相连;另一种是并联:在并联电路中电流有多条流通路径,各个用电器之间并列连接.

解答 解:(1)要使两灯泡并联,则两灯泡的两端应并列连接,所以可将L1的左端跟L2的右端相连.如下图所示:

(2)要使两灯泡串联,则两灯泡应首尾相接构成通路,所以可将L1的右端跟L2的右端相连.如下图所示:

点评 本题主要考查了对串、并联电路中各个元件连接特点的了解.

练习册系列答案
相关习题

科目:初中物理 来源: 题型:选择题

16.下列说法中正确的是(  )
A.夏天,我们看到的冰糕冒“白气”是一种汽化现象
B.衣柜里防蛀虫的樟脑丸越来越小,这是因为樟脑丸汽化了
C.高压锅是利用液体沸点随液面上方气体压强的增大而降低,使食物容易被煮熟
D.电冰箱是利用致冷物质迅速汽化吸热,使电冰箱内温度降低

查看答案和解析>>

科目:初中物理 来源: 题型:选择题

17.某水银温度计的玻璃管上刻有110格均匀刻度线,当温度计玻璃泡浸没在冰水混合物中时,温度计内水银柱液面在20格处;当玻璃泡放入1标准大气压下的沸水中时,水银柱液面在70格处,通过计算可知,温度计上每一格表示的温度值和这只温度计的测量范围分别是(  )
A.0.5℃;-50~20℃B.0.5℃;0~100℃C.2℃;-20~200℃D.2℃;-40~180℃

查看答案和解析>>

科目:初中物理 来源: 题型:填空题

1.阳春三月,金黄的油菜花吸引众多游客来到兴化.游客在远处未见花开就能先闻其香,说明分子在永不停息的做无规则运动.油菜花呈黄色是因为油菜花反射(反射/吸收)了黄光.风吹花浪,使人心旷神怡.微风吹弯菜花说明力可以使物体发生形变.

查看答案和解析>>

科目:初中物理 来源: 题型:解答题

8.如图是小帅在探究“摩擦力大小与什么因素有关”的实验,在实验中他匀速拉动弹簧测力计,并认真仔细观察实验现象.请你帮他完成下列问题:

(1)实验要求必须水平匀速拉动弹簧测力计,这样做的目的是使摩擦力的大小等于弹簧测力计的拉力.
(2)比较甲、乙两图得出结论:当接触面的粗糙程度相同时,压力越大,摩擦力越大.
(3)比较甲和丙,探究的问题是:摩擦力与接触面粗糙程度的关系.

查看答案和解析>>

科目:初中物理 来源: 题型:填空题

18.重力大小与质量成正比,方向竖直向下,作用点重心.

查看答案和解析>>

科目:初中物理 来源: 题型:解答题

5.公安人员在勘查某一案发现场时,提取到该案犯在较为平整松软的土地上留下的站立时的脚印和几根头发,根据提供的线索,公安人员的部分破案过程如下:
(1)公安人员测得该案犯的头发所能承受的拉力是1.58N,根据人的头发所能承受的拉力随年龄而变化的规律(变化规律见下表),则大致可确定该案犯的年龄属于20岁年龄组.
年龄组拉 力
20岁1.72N
30岁1.5N
40岁1.38N
60岁0.95N
(2)公安人员在现场提取到该案犯的左脚脚印如图所示,则可确定该案犯双脚站立时,与地面的接触面积约是420cm2(说明:图中每格代表7.5cm2,凡大于半格的都算一格,小于半格的都不算)
(3)公安人员将一面积为5cm2,质量可忽略不计的圆片平放在现场的脚印旁,当在圆上放上0.85kg的物体时,圆片下陷的深度和脚印下陷的深度相同,则可确定该案犯的质量约为多少kg?

查看答案和解析>>

科目:初中物理 来源: 题型:选择题

2.假如在“流体中流速越大的位置压强越大”.则不会出现的情况是(  )
A.跑车尾翼的截面形状应该反过来
B.两艘并列同向行驶的船只不会相撞
C.地铁、火车站的站台安全线不必设置
D.喷雾器再怎么用力吹也不喷不出雾来

查看答案和解析>>

科目:初中物理 来源: 题型:填空题

3.在高速公路上,经常看到路边写着“货车不得超载、超速”的警示牌,请你根据学过的物理知识,写出货车超载或超速的四种危害.
①汽车超载,是指汽车装载的货物质量过大,在受力面积不变的情况下,压强增大,超过路面的承受能力而损坏路面.
②超载的汽车质量大,惯性大,急刹车后滑行距离大,容易出交通事故.
③载的汽车质量大,重力大,由于压力大,对车轮的摩擦就大,使车轮磨损的快,不及时更换,容易因为制动摩擦小产生交通事故.
④超速会增大车辆的速度,使汽车动能增大,刹车时车不容易停下来,从而造成交通事故.

查看答案和解析>>

同步练习册答案