精英家教网> 2026年育才金典物理中考总复习 > 第1页 参考答案
2026年育才金典物理中考总复习
注:目前有些书本章节名称可能整理的还不是很完善,但都是按照顺序排列的,请同学们按照顺序仔细查找。练习册2026年育才金典物理中考总复习答案主要是用来给同学们做完题方便对答案用的,请勿直接抄袭。
一、填空题
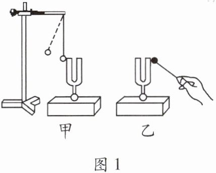
1. 如图1所示,在教室里,小明敲响乙音叉时,与甲音叉的叉股接触的乒乓球会被多次弹开。乒乓球在实验中把音叉的微小振动放大,便于观察,这种思维方法叫作
转换法
(选填“控制变量法”“转换法”或“类比法”)。若在月球表面进行此实验,
不能
(选填“还能”或“不能”)观察到上述现象,这是因为
真空不能传声
。


答案:转换法; 不能; 真空不能传声
2. 如图2所示,为了探究声波、电磁波能否在真空中传播,小明将手机A的“背景灯光提示”功能(手机接收到信号后有灯光显示)和“来电铃声”功能打开后悬挂在密闭的真空罩中并罩好。连接抽气机抽气一段时间后,用手机B呼叫手机A,小明发现手机A的灯光亮了,却几乎听不到铃声。由此,小明得出结论:
电磁波
能在真空中传播,
声音
不能在真空中传播。小华认为小明的证据不足,听不到铃声可能是被真空罩挡住了。为了补足证据,小华的操作是
将空气放回罩内再拨电话,能听到声音
。
答案:电磁波; 声音; 将空气放回罩内再拨电话,能听到声音
3. (2025·苏州)苏州评弹是国家级非物质文化遗产,表演中常用到琵琶、三弦等乐器,如图3所示。当演奏者拨动琴弦时,弦因
振动
而发出声音,且拨动的力度越大,声音的
响度
越大;听众能分辨出琵琶和三弦发出的声音,主要是依据声音的
音色
不同。


答案:振动; 响度; 音色
4. (2025·甘肃)市场上有一种变声器,可以改变声音的特性。某段声音的波形变化如图4所示,变声前是A段,变声后是B段,则变声后声音的音调
不变
(选填“变高”“不变”或“变低”),响度
变大
(选填“变大”“不变”或“变小”)。
答案:不变; 变大
5. 发生地震被困在废墟中时,被困人员敲击水管,使水管
振动
发出声音。若水管足够长且水管中有水,废墟外的人最多可以听到
3
次声音,最先听到的声音来自
铁管
的振动。
答案:振动; 3; 铁管
二、选择题

6. 下列说法正确的是(
D
)
A. 在教室里讲话时听不到回声是因为教室里没有回声
B. 百米赛跑时,计时员应在听到发令枪响时开始计时
C. 空气中的声速大于水中的声速
D. 声在介质中以波的形式传播
答案:D
7. (2025·淮安)《天工开物》中记载:“凡钟为金乐之首,其声一宣,大者闻十里,小者亦及里之余。”这主要描述的是钟发出的声音(
A
)
A.响度大
B.音色好
C.音调高
D.速度大
答案:A
8. (2025·泰安)学校音乐节上,同学们在乐队的伴奏下放声高歌《我和我的祖国》。下列说法正确的是(
A
)
A.同学们的歌声是由声带振动产生的
B.歌声在空气中的传播速度是3×10⁸m/s
C.“放声高歌”中的“高”是指声音的音色好
D.观众根据响度辨别不同乐器的伴奏声
答案:A