精英家教网 > 高中物理 > 题目详情

质量和电荷量都相等的带电粒子M和N,以不同的速率经小孔S垂直进入匀强磁场,运行的半圆轨迹如图中虚线所示.下列表述正确的是(  )

 

A.

M带负电,N带正电

 

B.

M的速率小于N的速率

 

C.

洛伦兹力对M、N做正功

 

D.

M的运行时间等于N的运行时间


考点:

带电粒子在匀强磁场中的运动;牛顿第二定律;向心力.版权所有

专题:

带电粒子在磁场中的运动专题.

分析:

由左手定则判断出M带正电荷,带负电荷;结合半径的公式可以判断出粒子速度的大小;根据周期的公式可以判断出运动的时间关系.

解答:

解:A、由左手定则判断出M带负电荷,N带正电荷,故A正确;

B、粒子在磁场中做匀速圆周运动,由洛伦兹力提供向心力,则qvB=m,得半径r=,在质量与电量相同的情况下,半径大说明其速率大,则知M的速度率大于N的速率,故B错误;

C、洛伦兹力方向与速度方向始终垂直,所以洛伦兹力对粒子不做功,故C错误;

D、粒子在磁场中运动半周,即时间为其周期的一半,而周期为T=,与粒子运动的速度无关,所以M的运行时间等于N的运行时间,故D正确.

故选:AD.

点评:

该题考查到左手定则、半径的公式和根据周期的公式,属于基本应用.

 

练习册系列答案
相关习题

科目:高中物理 来源: 题型:


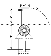
进入21世纪,低碳环保、注重新能的开发与利用的理念,已经日益融入生产、生活之中。某节水喷灌系统如图所示,喷口距地面的高度h=1.8m,能沿水平方向旋转,喷口离转动中心的距离a=1.0m水可沿水平方向喷出,喷水的最大速率v0=10m/s,每秒喷出水的质量m0=7.0kg。所用的水是从井下抽取的,井中水面离地面的高度H=3.2m,并一直保持不变。水泵由电动机带动,电动机电枢线圈电阻r=5.0Ω。电动机正常工作时,电动机的输入电压U=220V,输入电流I=4.0A。不计电动机的摩擦损耗,电动机的输出功率等于水泵所需要的最大输入功率。水泵的输出功率与输入功率之比称为水泵的抽水效率。(计算时取3,球体表面积公式)试求:

⑴求这个喷灌系统所能喷灌的最大面积S;

⑵假设系统总是以最大喷水速度工作,求水泵的抽水效率

⑶假设系统总是以最大喷水速度工作,在某地区将太阳能电池产生的电能直接供该系统使用,根据以下数据求所需太阳能电池板的最小面积

(已知:太阳光传播到达地面的过程中大约有30%的能量损耗,太阳辐射的总功率,太阳到地球的距离,太阳能电池的能量转化效率约为15%。)

查看答案和解析>>

科目:高中物理 来源: 题型:


如图所示,正方形abcd区域内分布着垂直纸面向里的匀强磁场,O点是cd边的中点。一个带正电的粒子仅在磁场力的作用下,从O点沿纸面以垂直于cd边的速度射入磁场,经过时间t0刚好从c点射出磁场。现让该粒子从O点沿纸面以与Od成30°角的方向,分别以大小不同的速率射入磁场,则关于该粒子在磁场中运动的时间t和离开正方形区域位置,分析正确的是:(   )

A.若,则它一定从dc边射出磁场

B.若,则它一定从cb边射出磁场

C.若,则它一定从ba边射出磁场

D.若,则它一定从da边射出磁场

查看答案和解析>>

科目:高中物理 来源: 题型:


如图所示,在正交坐标系Oxyz中,分布着电场和磁场(图中未画出).在Oyz平面的左方空间内存在沿y轴负方向、磁感应强度大小为B的匀强磁场;在Oyz平面右方、Oxz平面上方的空间内分布着沿z轴负方向、磁感应强度大小也为B匀强磁场;在Oyz平面右方、Oxz平面下方分布着沿y轴正方向的匀强电场.在t=0时刻,一个微粒的质量为m、电荷量为q的微粒从P点静止释放,已知P点的坐标为(5a,﹣2a,0),电场强度大小为,不计微粒的重力.

求:

(1)微粒第一次到达x轴的速度大小v和时刻t1;

(2)微粒第一次到达y轴的坐标和时刻t2;

(3)假设在平面Oyz存在一层特殊物质,使微粒每次经过Oyz平面时,速度大小总变为原来的,求在时刻t3=t2+时,电荷所在位置的坐标.

查看答案和解析>>

科目:高中物理 来源: 题型:


如图所示,电源电动势E=8V,内电阻为r=0.5Ω,“3V,3W”的灯泡L与电动机M串连接在电源上,灯泡刚好正常发光,电动机刚好正常工作,电动机的线圈电阻R0=1.5Ω.下列说法中正确的是(  )

 

A.

通过电动机的电流为1.6A

B.

电源的输出功率是8W

 

C.

电动机消耗的电功率为3W

D.

电动机的输出功率为3W

查看答案和解析>>

科目:高中物理 来源: 题型:


两位同学在实验室利用如图(a)所示的电路测定定值电阻R0、电源的电动势E和内电阻r,调节滑动变阻器的滑动触头P向某一方向移动时,一个同学记录了电流表A和电压表V1的测量数据,另一同学记录的是电流表A和电压表V2的测量数据.并根据数据描绘了如图(b)所示的两条U﹣I直线.请回答下列问题:

(1)根据两位同学描绘的直线,可知图线  (填“甲”或“乙”)是根据电压表V1和电流表A的数据所描绘的.

(2)根据图(b),可以求出定值电阻R0=  Ω,电源电动势E=  V,内电阻r=  Ω.

查看答案和解析>>

科目:高中物理 来源: 题型:


下图中,P物体对Q物体的压力的示意图,正确的是(  )

 

A.

B.

C.

D.

查看答案和解析>>

科目:高中物理 来源: 题型:


如图所示,某司机驾驶一辆小汽车在平直公路上以15m/s的速度匀速行驶.他突然发现正前方有一宠物小狗因受惊吓静止在公路中央,立即刹车,刹车的加速度大小为7.5m/s2,最后在距离小狗2m的地方停下.求

(1)司机从发现小狗刹车到停止所用的时间;

(2)司机发现小狗刹车时距离小狗多远.

查看答案和解析>>

科目:高中物理 来源: 题型:


上海到南京的列车已迎来第五次大提速,速度达到v1=180km/h.为确保安全,在铁路与公路交叉的道口处需装有自动信号灯.当列车还有一段距离才到达公路道口时,道口应亮出红灯,警告未越过停车线的汽车迅速制动,已越过停车线的汽车赶快通过.如果汽车通过道口的速度v2=36km/h,停车线至道口栏木的距离x0=5m,道口宽度x=26m,汽车长l=15m(如图所示),并把火车和汽车的运动都看成匀速直线运动.问:列车离道口的距离L为多少时亮红灯,才能确保已越过停车线的汽车安全驶过道口?

查看答案和解析>>

同步练习册答案