如图所示,两光滑平行导轨水平放置在匀强磁场中,磁场垂直导轨所在平面,金属棒ab可沿导轨自由滑动,导轨一端跨接一个定值电阻R,导轨电阻不计,现将金属棒沿导轨由静止向右拉,若保持拉力恒定,经时间t1后速度为v,加速度为a1,最终以速度2v做匀速运动;若保持拉力的功率恒定,经时间t2后速度为v,加速度为a2,最终也以速度2v做匀速运动,则( )
![]()
|
| A. | t2=t1 | B. | t2<t1 | C. | a2=2a1 | D. | a2=3a1 |
| 导体切割磁感线时的感应电动势.. | |
| 专题: | 电磁感应与电路结合. |
| 分析: | 分析清楚两种情况下的运动形式区别,然后根据牛顿第二定律和运动学规律求解,注意两种情况下导体棒最终匀速运动时所受拉力大小是相同的. |
| 解答: | 解:C、D、由于两种情况下,最终棒都以速度2v匀速运动,此时拉力与安培力大小相等,则有: F=F安=BIL=BL• 当拉力恒定,速度为v,加速度为a1时,根据牛顿第二定律有:F﹣ 由①②解得:a1= 若保持拉力的功率恒定,速度为2v时,拉力为F,则有:P=F•2v, 又F=F安= 得:P= 则当速度为v时,拉力大小为:F1== 根据牛顿第二定律得:F1﹣ 解得:a2= 所以有a2=3a1,故C错误,D正确; A、B、当拉力的功率恒定时,随着速度增大,拉力逐渐减小,最后匀速运动时拉力最小,且最小值和第一种情况下拉力相等,因此最后都达到速度2v时,t1>t2,故A错误,B正确. 故选:BD |
| 点评: | 本题可以和机车启动的两种方式进行类比解答,只不过机车启动时阻力不变,而该题中阻力为安培力,是不断变化的. |
科目:高中物理 来源: 题型:
如图所示,竖直平面内有两个水平固定的等量同种负点电荷,A、O、B在两电荷连线的中垂线上,O为两电荷连线中点,AO=OB=L,将一带正电的小球由A点静止释放,小球可最远运动至O点,已知小球的质量为m、电量为q.若在A点给小球一初速度,则小球向上最远运动至B点,重力加速度为g.则AO两点的电势差UAO=
,该小球从A点运动到B点的过程中经过O点时速度大小为 2
.
![]()
查看答案和解析>>
科目:高中物理 来源: 题型:
如图所示,竖直放置的圆柱形气缸内有一不计质量的活塞,可在气缸内作无摩擦滑动,活塞下方封闭一定质量的气体。已知活塞截面积为100cm2,大气压强为1.0×105Pa,气缸内气体温度为27℃,试求:
![]()
①若保持温度不变,在活塞上放一重物,使气缸内气体的体积减小一半,这时气体的压强和所加重物的重力。
②在加压重物的情况下,要使气缸内的气体恢复原来体积,应对气体加热,使温度升高到多少摄氏度。
查看答案和解析>>
科目:高中物理 来源: 题型:
下列说法正确的是__________(选对一个给3分,选对两个给4分,选对三个给5分。选错一个扣3分,最低得分为0分)
A.液晶的光学性质具有各向异性
B.当人们感觉到闷热时,说明空气的相对湿度较小
C.液体表面的分子分布比液体内部分子的分布要稀疏
D.草叶上的露珠呈球形是由于液体表面张力的作用
E.由于液体表面具有收缩趋势,故液体表面的分子之间不存在斥力
查看答案和解析>>
科目:高中物理 来源: 题型:
近来,我国大部分地区都出现了雾霾天气,给人们的正常生活造成了极大的影响.在一雾霾天,某人驾驶一辆小汽车以30m/s的速度行驶在高速公路上,突然发现正前方30m处有一辆大卡车以10m/s的速度同方向匀速行驶,小汽车紧急刹车,但刹车过程中刹车失灵.如图a、b分别为小汽车和大卡车的v﹣t图象,以下说法正确的是( )
![]()
|
| A. | 因刹车失灵前小汽车已减速,不会追尾 |
|
| B. | 在t=5s时追尾 |
|
| C. | 在t=3s时追尾 |
|
| D. | 由于初始距离太近,即使刹车不失灵也会追尾 |
查看答案和解析>>
科目:高中物理 来源: 题型:
如图所示,匀强电场方向沿x轴的正方向,场强为E.在A(d,0)点有一个静止的中性微粒,由于内部作用,某一时刻突然分裂成两个质量均为m的带电微粒,其中电荷量为q的微粒1沿y轴负方向运动,经过一段时间到达(0,﹣d)点.不计重力和分裂后两微粒间的作用.试求
(1)分裂时两个微粒各自的速度;
(2)当微粒1到达(0,﹣d)点时,电场力对微粒1做功的瞬间功率;
(3)当微粒1到达(0,﹣d)点时,两微粒间的距离.
查看答案和解析>>
科目:高中物理 来源: 题型:
如图所示,一个“房子”形状的铁制音乐盒静止在水平面上,一个塑料壳里面装有一个圆柱形强磁铁,吸附在“房子”的顶棚斜面,保持静止状态。已知顶棚斜面与水平面的夹角为
,塑料壳和磁铁的总质量为
,塑料壳和斜面间的动摩擦因数为
,则以下说法正确的是
A.塑料壳对顶棚斜面的压力大小为![]()
B.顶棚斜面对塑料壳的摩擦力大小一定为![]()
C. 顶棚斜面对塑料壳的支持力和摩擦力的合力大小为![]()
D.磁铁的磁性若瞬间消失,塑料壳不一定会往下滑动
![]()
查看答案和解析>>
科目:高中物理 来源: 题型:
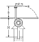
进入21世纪,低碳环保、注重新能的开发与利用的理念,已经日益融入生产、生活之中。某节水喷灌系统如图所示,喷口距地面的高度h=1.8m,能沿水平方向旋转,喷口离转动中心的距离a=1.0m水可沿水平方向喷出,喷水的最大速率v0=10m/s,每秒喷出水的质量m0=7.0kg。所用的水是从井下抽取的,井中水面离地面的高度H=3.2m,并一直保持不变。水泵由电动机带动,电动机电枢线圈电阻r=5.0Ω。电动机正常工作时,电动机的输入电压U=220V,输入电流I=4.0A。不计电动机的摩擦损耗,电动机的输出功率等于水泵所需要的最大输入功率。水泵的输出功率与输入功率之比称为水泵的抽水效率。(计算时
取3,球体表面积公式
)试求:
⑴求这个喷灌系统所能喷灌的最大面积S;
⑵假设系统总是以最大喷水速度工作,求水泵的抽水效率
;
⑶假设系统总是以最大喷水速度工作,在某地区将太阳能电池产生的电能直接供该系统使用,根据以下数据求所需太阳能电池板的最小面积
。
(已知:太阳光传播到达地面的过程中大约有30%的能量损耗,太阳辐射的总功率
,太阳到地球的距离
,太阳能电池的能量转化效率约为15%。)
![]()
查看答案和解析>>
科目:高中物理 来源: 题型:
质量为m的小球被系在轻绳的一端,在竖直平面内做半径为R的圆周运动,运动过程中小球受到空气阻力的作用.设某一时刻小球通过轨道的最低点,此时绳子的张力为7mg,此后小球继续做圆周运动,经过半个圆周恰能通过最高点,则在此过程中小球克服空气阻力所做的功为( ▲ )
A.mgR/4 B.mgR/2 C.mg/R D.mgR
查看答案和解析>>
湖北省互联网违法和不良信息举报平台 | 网上有害信息举报专区 | 电信诈骗举报专区 | 涉历史虚无主义有害信息举报专区 | 涉企侵权举报专区
违法和不良信息举报电话:027-86699610 举报邮箱:58377363@163.com